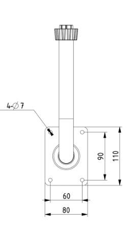
What is the dimension of wall mount for RTK? The dimensions of the RTK wall mount are 110mm x 80mm. For more detailed specifications and mounting guidance, please refer to the photos provided below. image.png 700 KB Download image1.jpeg 10 KB Download